керн КПО-29/32 ТС
Описание
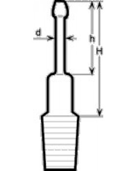
Керн с прямым отводом
относится к соединительным элементам и служит для сборки различных лабораторных
приборов, аппаратов и установок.
Керн с прямым отводом
типа КПО, с взаимозаменяемым конусом керна 29/32 изготавливается из термически
стойкого стекла группы ТС по ГОСТ 25336-82.
ГОСТ
25336-82
Обозначение конуса керна по ГОСТ 8682-93
29/32
Марка стекла
ТС
Вы смотрели
Интересные факты
История бенгальских огней
- 23.01.2025
Бенгальские огни – это яркие атрибуты праздника, неразрывно...
Подробнее..Почему, когда вливаешь воду в стакан, она оказывается на столе?
- 23.01.2025
Вы, вероятно, замечали, как при наливании жидкости...
Подробнее..Что такое аналемма?
- 22.01.2025
Возможно, вы обращали внимание на старинных глобусах на таинственную...
Подробнее..Можете добавлять сколько угодно вкладок (табов), с любой информацией : текст, фото, видео и т.д.










